Cục Sở hữu trí tuệ cấp văn bằng bảo hộ sáng chế: Cơ cấu cân bằng
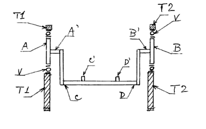
Chủ văn bằng Phan Hồng Phước được Cục Sở hữu trí tuệ cấp văn bằng bảo hộ sáng chế: Cơ cấu cân bằng.
Chủ văn bằng Phan Hồng Phước được Cục Sở hữu trí tuệ cấp văn bằng bảo hộ sáng chế: Cơ cấu cân bằng.
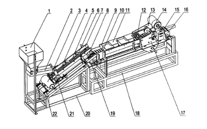
Trường Đại học Cần Thơ được Cục Sở hữu trí tuệ cấp văn bằng bảo hộ giải pháp hữu ích: MÁY TÁCH CUỐNG ỚT vào ngày 25/02/2022.
Công ty cổ phần BJ&T được Cục Sở hữu trí tuệ cấp văn bằng bảo hộ giải pháp hữu ích: QUY TRÌNH SẢN XUẤT BÚN KHÔ VÀ BÚN KHÔ ĐƯỢC SẢN XUẤT BỞI QUY TRÌNH NÀY vào ngày 25/01/2022.
Ngày 19/04/2024, Nhãn hiệu của Công ty TNHH MTV ASOKA được Cục SHTT cấp giấy chứng nhận đăng ký nhãn hiệu số 4-0488333.
Ngày 19/04/2024, Nhãn hiệu “VT Tâm lớn cho sức khỏe, hình” của Công ty TNHH Pharma Vạn Tâm được Cục SHTT cấp giấy chứng nhận đăng ký nhãn hiệu số 4-0488306.
Ngày 17/04/2024, Nhãn hiệu “HD, hình” của Công ty TNHH Thương Mại Trang Trí Nội Thất Hoàng Điểm được Cục SHTT cấp giấy chứng nhận đăng ký nhãn hiệu số 4-0488278.
Ngày 17/04/2024, Nhãn hiệu “VANPHAT RIVERSIDE, hình” của Công Ty Cổ Phần Xây Dựng Và Thương Mại Vạn Phát được Cục SHTT cấp giấy chứng nhận đăng ký nhãn hiệu số 4-0488024.
Chủ văn bằng Phạm Minh Hữu Tiến được Cục Sở hữu trí tuệ cấp văn bằng bảo hộ nhãn hiệu “TDS Dược sĩ Tiến” vào ngày 24/05/2022.
Công ty TNHH ADC được Cục Sở hữu trí tuệ cấp văn bằng bảo hộ nhãn hiệu “FUN 9.9.99” vào ngày 09/05/2022.
Công ty Cổ phần Thương mại Du lịch Nụ Cười Mê Kông được Cục Sở hữu trí tuệ cấp văn bằng bảo hộ nhãn hiệu “MekongSmile, hình” vào ngày 20/05/2022.
Ngày 11/04/2024, Nhãn hiệu “PHARMA, hình” của Công ty Cổ Phần Dược Phẩm Phương Nam được Cục SHTT cấp giấy chứng nhận đăng ký nhãn hiệu số 4-0487276.
Công ty TNHH Cường Thịnh được Cục Sở hữu trí tuệ cấp văn bằng bảo hộ nhãn hiệu “C T CUONG THINH, hình” vào ngày 18/05/2022.