
Trường Đại học Cần Thơ được Cục Sở hữu trí tuệ cấp văn bằng bảo hộ giải pháp hữu ích: MÁY TÁCH CUỐNG ỚT vào ngày 25/02/2022.
Mô tả:
- Tên giải pháp hữu ích: MÁY TÁCH CUỐNG ỚT
- Số đơn: 2-2021-00294
- Số văn bằng: 2-0002822 B
- Ngày công bố văn bằng: 25/02/2022
- Tên, địa chỉ của chủ văn bằng: TRƯỜNG ĐẠI HỌC CẦN THƠ. Khu II, đường 3/2, phường Xuân Khánh, quận Ninh Kiều, thành phố Cần Thơ
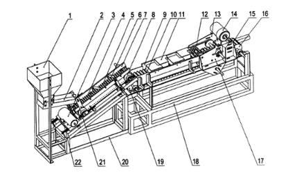
- Tóm tắt giải pháp hữu ích: Giải pháp hữu ích đề cập đến máy tách cuống ớt bao gồm phương tiện chuyển quả ớt, phương tiện kiểm soát thông minh quả ớt, và phương tiện xử lý cuống ớt. Phương tiện chuyển quả ớt gồm bộ phận cấp quả ớt có phễu cấp ớt (1), máng nghiêng (2), băng tải móc ớt (4), và tấm gạt (6) để gạt quả ớt xuống rãnh chứa ớt trên băng tải tách cuống, trong đó rãnh chứa ớt trên băng tải tách cuống khác biệt ở chỗ có tấm chắn biên băng tải móc ớt để hạn chế số lượng ớt trên băng tải này, nhờ đó mỗi rãnh chứa ớt trên băng tải tách cuống chỉ chứa một quả ớt, giúp cho việc định vị quả ớt được tốt hơn. Phương tiện kiểm soát thông minh quả ớt gồm bộ nhận diện tự động và sắp xếp được trang bị bộ xử lý trung tâm dùng bộ vi xử lý và các bộ cảm biến màu để phát hiện phần cuống ớt có màu xanh, và gửi tín hiệu đến cho bộ vi xử lý để thực hiện xử lý tín hiệu, và phát lệnh điều khiển cho bộ điều khiển để điều khiển động cơ bước (11.6) có gắn chổi quét gạt ớt (11.5) quay và sắp xếp quả ớt sao cho phần cuống ớt được hướng ra phía bên ngoài băng tải ớt, trong đó khác biệt ở chỗ bộ nhận diện tự động và sắp xếp được tạo cấu hình dạng môđun, có từ một hoặc nhiều môđun nhận diện tự động và sắp xếp để tăng tốc độ xử lý và công suất tách cuống ớt. Phương tiện xử lý cuống ớt gồm có bộ tách cuống ớt (12), tấm chắn biên băng tải bộ tách cuống (9), và băng tải tách cuống ớt (10).
Lttsuong
Nguồn: IP VIETNAM
